Товар сертифицированМежповерочный интервал: 16 лет
Получить консультацию
Наведите телефон на QR код
Ваша заявка отправлена
Менеджер перезвонит вам в ближайшее время
Ваша заявка не отправлена
Произошла ошибка
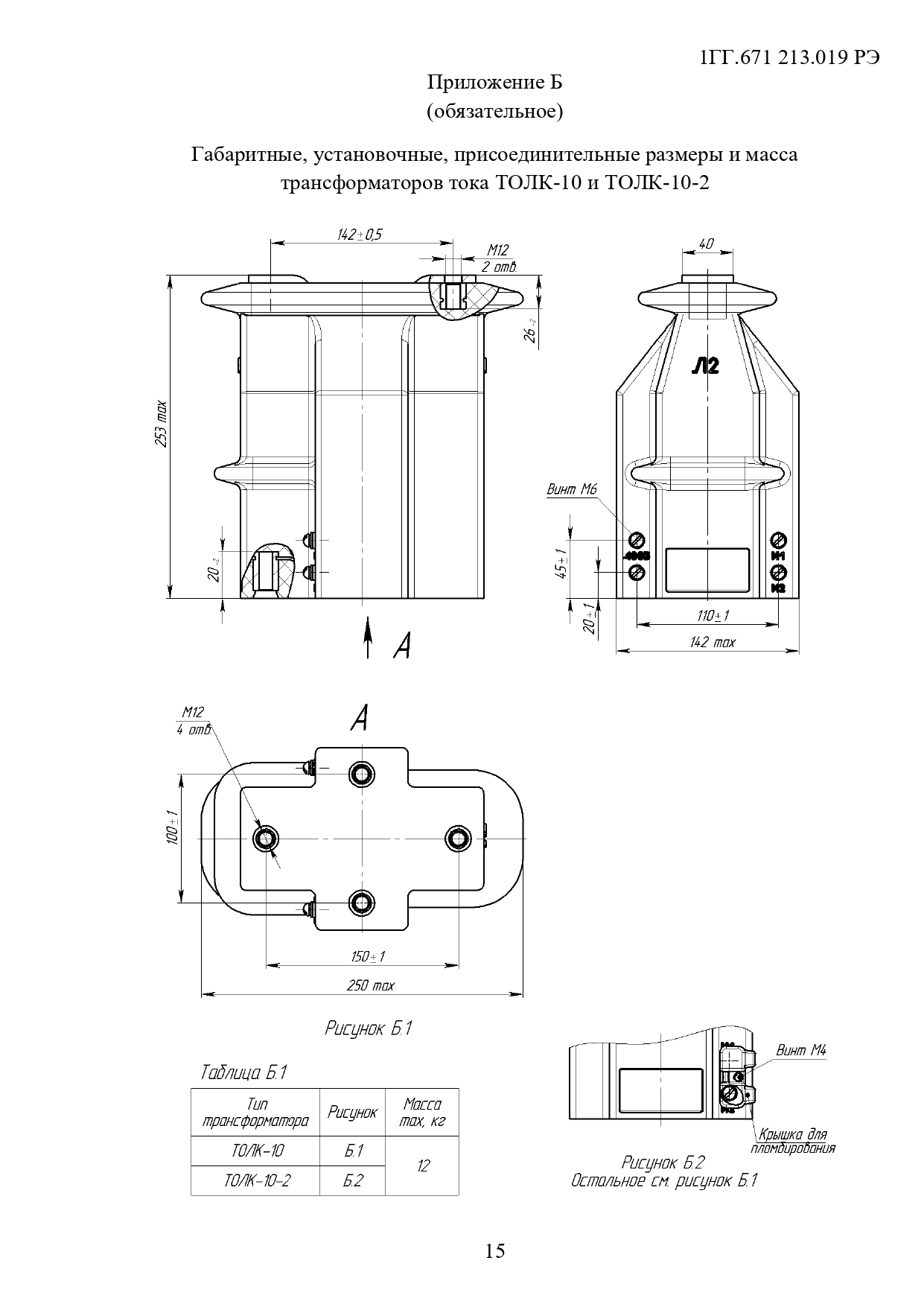
Трансформаторы ТОЛК-10 предназначены для передачи сигнала измерительной информации приборам измерения, защиты, автоматики, сигнализации и управления, а также для проверки работоспособности максимальной токовой защиты при отсутствии нагрузки в первичной цепи.
Межповерочный интервал – 16 лет.
Трансформаторы ТОЛК-10-2 предназначены для передачи сигнала измерительной информации приборам измерения.
Трансформаторы предназначены для установки в высоковольтные рудничные комплектные распределительные устройства (КРУ) в сетях на напряжение до 10 кВ угольных и сланцевых шахт, опасных по газу и пыли.
Трансформаторы ТОЛК-10-2 также применяются в комплектных распределительных устройствах.
Трансформаторы имеют климатическое исполнение «О», категорию размещения 5.1 по ГОСТ 15150, трансформаторы ТОЛК-10-2 могут изготавливаться в климатическом исполнении «У», категории размещения 2.
Межповерочный интервал – 16 лет.
ТУ16-2011 ОГГ.671 210.001 ТУ
Трансформаторы тока ТОЛК-10 и ТОЛК-10-2 являются критически важными устройствами в электрических сетях, обеспечивая надежное преобразование высоких токов в значения, пригодные для измерений, контроля и защиты. Эти модели разработаны для использования в условиях, требующих высокой точности и надежности, что делает их незаменимыми в системах распределения электроэнергии.
ТОЛК-10 и ТОЛК-10-2 различаются своими техническими характеристиками и предназначением, но оба предлагают высокую производительность и долговечность. Трансформатор ТОЛК-10 предназначен для установки в закрытых помещениях и обладает высокой степенью защиты от внешних воздействий. Это делает его идеальным выбором для промышленных предприятий с агрессивной средой. ТОЛК-10-2, в свою очередь, предназначен для более широкого применения, включая открытые установки, и имеет дополнительные функции защиты, которые помогают устойчиво работать в различных климатических условиях.
Обе модели трансформаторов оснащены современными изоляционными материалами и системами охлаждения, что обеспечивает их работу в условиях высоких нагрузок и температур. Прочная конструкция и надежные материалы гарантируют долгий срок службы устройств, минимизируя необходимость в частом обслуживании и ремонте.
ТОЛК-10 и ТОЛК-10-2 также приспособлены для легкой интеграции в существующие электрические системы, благодаря универсальным клеммам и гибким настройкам подключения. Это позволяет их использовать в различных конфигурациях сетей, улучшая общую эффективность и безопасность электроснабжения.
Использование трансформаторов ТОЛК-10 и ТОЛК-10-2 позволяет не только повысить точность измерений и надежность системы, но и значительно улучшить управление энергопотреблением. Они играют важную роль в оптимизации расхода энергии, предоставляя данные для анализа и планирования, что способствует снижению операционных расходов и улучшению экологической безопасности.
В скобках указана стандартная вторичная нагрузка.
* Только для поставок на экспорт.
** При номинальной нагрузке 10 В·А.
Значение нагрузки и класс точности оговаривается при заказе.
В соответствии с заказом могут поставляться трансформаторы с другими техническими параметрами, отличающимися от номинальных.
Изоляция трансформаторов ТОЛК-10 облегченная уровня «а» по ГОСТ 1516.3.
Технические характеристики трансформаторов ТОЛК-10-2
Наименование параметра
Значение
ТОЛК-10-2
Номинальное напряжение, кВ
10, 11*
Наибольшее рабочее напряжение, кВ
12
Номинальная частота переменного тока, Гц
50, 60*
Номинальный первичный ток, А
10; 15; 20; 30; 40; 50; 75; 80; 100;
150; 200; 300; 400; 600
Номинальный вторичный ток, А
5
Класс точности вторичной обмотки
0,2S; 0,2; 0,5S; 0,5
Номинальная вторичная нагрузка, В·А
3; 5; (10); 15; 20; 30
Номинальный коэффициент безопасности приборов обмотки для измерений в классе точности, не более:** 0,2S; 0,2; 0,5S
10
0,5
16
Односекундный ток термической стойкости, кА, при номинальном первичном токе, А:
10; 15
1,28
20
1,92
30
3,2
40
3,84
50
5,76
75
8,32
80
8,96
100
12,8
150
15,36
200
22,4
300
35,2
400; 600
38,4
Ток электродинамической стойкости, кА, при номинальном первичном токе, А:
В скобках указана стандартная вторичная нагрузка.
* Только для поставок на экспорт.
** При номинальной нагрузке 10 В·А.
Значение нагрузки и класс точности оговаривается при заказе.
В соответствии с заказом могут поставляться трансформаторы с другими техническими параметрами, отличающимися от номинальных.
Изоляция трансформаторов ТОЛК-10-2 нормальная уровня «б» по ГОСТ 1516.3, литая класса нагревостойкости «В» по ГОСТ 8865 и класса воспламеняемости FH (ПГ) 1 по ГОСТ 28779.
Внутренняя и внешняя изоляция трансформаторов ТОЛК-10-2 должна выдерживать испытательное напряжение полного грозового импульса для 10 кВ – 75 кВ.
3D-модель-ТОЛК-10
Опросный лист на трансформаторы тока
Руководство по эксплуатации ТОЛК-10
Сертификаты ТОЛ, ТОП, ТОЛК, ТЛК
Трансформаторы ТОЛ-10 подходят для замены трансформаторов марок ТЛК-10, ТЛО-10, ТОЛ-СЭЩ-10, ТОЛ-НТЗ-10.